Тема: Help!!!! Пассажирское сиденье дало сбой!
Суть проблемы! На пассажирском никто не сидит, бьет тревогу что надо пристегнуться,дружище))!!! На днях началось! В чем подвох?????
Белорусский клуб владельцев автомобиля Saab
"Он просто живой и летает..."
Вы не вошли. Пожалуйста, войдите или зарегистрируйтесь.
Белорусский клуб владельцев автомобиля Saab → Кузов и салон → Help!!!! Пассажирское сиденье дало сбой!
Страницы 1
Чтобы отправить ответ, вы должны войти или зарегистрироваться
Суть проблемы! На пассажирском никто не сидит, бьет тревогу что надо пристегнуться,дружище))!!! На днях началось! В чем подвох?????
Суть проблемы! На пассажирском никто не сидит, бьет тревогу что надо пристегнуться,дружище))!!! На днях началось! В чем подвох?????
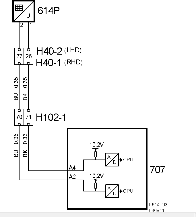
Кто-то не попой посидел, а на коленках поползал, доставал чего-то из салона, например и продавил контакты. От этого ещё и попогрей страдает. Проверь, работает ли последний, чтоб если уж лезть, то за один раз.
Цена датчика 45 эуро
может кто ремонтировать пробывал?
Цена датчика 45 эуро
при такой цене мне кажется проще кресло с разборки утащить
У меня есть датчик, так для информации. Отдам за недорого
HELP так и не ответил... )))
Спасибо всем что откликнулись!!! Надо смотреть
У меня есть датчик, так для информации. Отдам за недорого
Дело реально в датчике??? Что хотите по деньгам????
Там обычно провода отрывет, можно припаять обратно. Цену обозначил в ЛС, если дело не в нем.
После ремонта его необходимо посадить на клей, иначе он будет работать некоректно
Подскажите в чем причина водительское сиденье жарит попу регулятор на нуле сааб9.5
Подскажите в чем причина водительское сиденье жарит попу регулятор на нуле сааб9.5
В регуляторе и дело
Где можно купить регулировки подогрева сидений сааб 9.5 2.2 дизель 2003г
Где можно купить регулировки подогрева сидений сааб 9.5 2.2 дизель 2003г

Такой?
40р
10уй стоили когда-то... года 2 назад...
10уй стоили когда-то... года 2 назад...
прикольно
Такой регулятор только надо от водителя и если есть где можно забрать
Страницы 1
Чтобы отправить ответ, вы должны войти или зарегистрироваться
Белорусский клуб владельцев автомобиля Saab → Кузов и салон → Help!!!! Пассажирское сиденье дало сбой!
Форум работает на PunBB, при поддержке Informer Technologies, Inc
The pun_quote official extension is installed. Copyright © 2003–2009 PunBB.